Самодельный стол "по-селянски"
Будучи выполненным аккуратно, такой стол, несмотря на довольно простую конструкцию, может украсить не только сельский дом или дачу, но и городскую квартиру. Тем более что сейчас многие домашние умельцы, изготавливая мебель своими руками, стремятся уйти от однообразия промышленных образцов, например, при оформлении обеденного уголка на кухне.
Особенность рассматриваемого варианта заключается в том, что он может быть выполнен по-разному, в соответствии с желаниями мастера, поскольку предоставляет возможность по-своему решать как столешницу, так и подстольную часть: с меньшей или большей декоративностью и степенью устойчивости, а также "капитальностью" самой сборки, в зависимости от конкретного назначения стола - в качестве ли постоянного предмета интерьера или разборного перевозимого (скажем, на дачу на летний период).
Столешница
Самый простой и доступный, но в тоже время и наиболее эстетически эффектный вариант исполнения столешницы - сборно-щитовой. Гладко выструганные, тщательно отшлифованные доски толщиной до 35 мм сплачиваются в плотно подогнанный щит на основе двух поперечных брусков сечением 40x40 мм, с креплением последних на гвоздях (или шурупах), вбиваемых со стороны брусков так, чтобы острия не выходили на лицевую сторону столешницы.
В случае, если будет выбрано другое решение и столешницей послужит мебельный щит, лист толстой фанеры или просто ДСП - все равно снизу необходимо будет крепить упомянутые поперечные бруски, так как они являются еще и связующим элементом между столешницей и опорным подстольем.
Подстолье
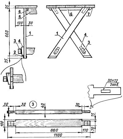
Особенностью рассматриваемой конструкции стола является и вариантность решения его опорной части. Здесь нет ножек в их традиционном современном понимании (что, между прочим, упрощает конструкцию). Их роль выполнят Х-образные или щитовые (в зависимости от предпочтения исполнителя) опоры.
Первый вариант выполняется из досок сечением 90x30 мм. В местах перекрестия каждой пары опор обе доски имеют встречные пазы в полдерева. В неразборном варианте эти места дополнительно скрепляются шурупами.
В верхней части Х-опоры крепятся к поперечным брускам столешницы (также шурупами или мебельными винтами с барашковыми гайками - в разборном варианте). В этих же местах с поперечными брусками стыкуются распорные доски подстолья, имеющие соответствующие вырезы под бруски; крепление - в виде шурупов, ввинчиваемых через доски Х-опор. Такая же пара распорных досок имеется и внизу Х-опор, крепление к которым осуществляется благодаря удлиненным шипам с отверстиями, проходящим через соответствующие окна в досках опор и фиксируемым деревянными клиньями. Сами опоры в нижней части могут иметь щечки-уширители из накладных планок.
В разборном варианте вместо верхних распорных досок может использоваться одна центральная, соединяющая места перекрестия опор (через соответствующие окна в них), с тем же клиновым креплением, что и в нижней части.
Как уже говорилось, опорная часть стола может быть и щитовой, украшенной фигурными вырезами, форма которых будет зависеть от фантазии исполнителя (вырезы еще и несколько облегчат конструкцию). Материалом могут послужить готовые мебельные щиты или ДСП, а также дощатые щиты, сплоченные по аналогии со щитом столешницы.
Щитовые опоры также крепятся к поперечным брускам столешницы (тоже шурупами или мебельными винтами с барашковыми гайками) и имеют свои распорные доски. В этом случае их достаточно две: по одной в центральной и нижней частях, с тем же клиновым креплением.
Отделка
Она может выполняться и после окончательной сборки, но лучше позаботиться о ней сразу после заготовки всех деталей: это и удобнее, и результат будет более качественный. Ведь и промышленные образцы сейчас поставляются нередко в наборах из готовых деталей с выполненной отделкой каждой (да еще и бережно упакованной, чтобы не повредить поверхность).
Заготовки из мебельных щитов практически не требуют доработки, кроме оклейки или окраски пиленых кромок. А вот детали из ДСП не только в силу эстетических, но и экологических требований обязательно окрашиваются в несколько слоев эмалевыми или нитрокрасками.
Особенно эффектной может быть отделка стола из чисто дощатых элементов - и столешницы, и подстолья. Дерево часто имеет естественную красивую текстуру, которую иногда достаточно лишь слегка подчеркнуть с помощью тщательной шлифовки, в другом случае - усилить обработкой морилкой.
Окончательная отделка в этом случае предполагает простое натирание любой имеющейся восковой мастикой для мебели или тщательную полировку с последующим покрытием лаком (на выбор прозрачным или темным) в несколько слоев с тщательной промежуточной сушкой и шлифованием.

Стилизованный дощатый стол:
1 - крестообразные опоры-ножки (доска 90x30, 4 шт.); 2 - щечки-уширители опоры; 3 - нижняя распорка (доска 100x40); 4 - клин распорной доски; 5 - верхняя распорка (доска 130x40); 6 - поперечина столешницы (брусок 40x40, 2 шт.); 7 - столешница (доска s35)

Щитовая опора стола (варианты)

Способ крепления щитовой опоры к столешнице (слева) и распорной доски в Х-опоре (справа)
| Лестница-эконом <Предыдущая | Следующая> Шкаф-колонка |
|---|
Моделист конструктор
Самодельный стол "по-селянски"